特長・用途
- 高圧測定用
- 小型・軽量(260 g)
- 圧力導入型、気密構造
- オールステンレス製
- 精度クラス:0.3 %R.O.
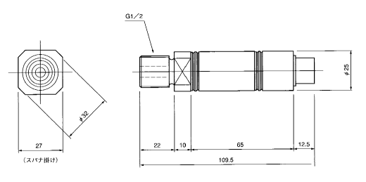
型式・外観寸法

形式名と定格容量・固有振動数・質量
| 形式名 | 定格容量 | 固有振動数 | 質量 |
|---|---|---|---|
| HVH-50MPA-B | 50 MPa(509.9 kgf/cm2) | 14 kHz | 260 g |
| HVH-100MPA-B | 100 MPa(1020 kgf/cm2) | 14 kHz | 260 g |
| HVH-200MPA-B | 200 MPa(2039 kgf/cm2) | 14 kHz | 260 g |
※質量は中継ケーブルを含みません。
※固有振動数は弾性体単体での計算値です。圧力応答性は圧力媒体等に依存されます。
仕様・規格
| 許容過負荷 | 120 %R.C. |
|---|---|
| 定格出力 | 0.5 mV/V±1 % |
| 直線性 | 0.3 %RO |
| ヒステリシス | 0.3 %RO |
| 繰り返し性 | 0.2 %RO |
| 推奨印加電圧 | 10 V 以内 |
| 許容印加電圧 | 15 V |
| 入力抵抗 | 350 Ω |
| 出力抵抗 | 350 Ω |
| 温度補償範囲 | -10~60 ℃ |
| 許容温度範囲 | -20~80 ℃ |
| 零点の温度影響 | 0.02 %RO/℃ |
| 出力の温度影響 | 0.01 %/℃ |
| コネクタ | レセプタクル/PRC03-21A10-7F |
| 付属ケーブル | L-A-5、コネクタの種類と接続を参照 |