牽引力等の測定に用いる引張用治具でJIS規格シャックルと合わせて利用することもできます。
適用機種:RCT型、MRDT型、RTU型
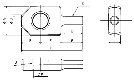
外観

寸法
単位:mm
| 型式名 | ΦA | ΦB | C | D | E | F | G | H | J | ΦK | L |
|---|---|---|---|---|---|---|---|---|---|---|---|
| TDD-12 | 40 | 16 | M12×1.75 | 25 | 25 | 30 | 30 | 85 | R30 | 20 | 15 |
| TDD-14 | 40 | 16 | M14×1.5 | 25 | 25 | 30 | 30 | 85 | R30 | 20 | 15 |
| TDD-18 | 32 | 22 | M18×1.5 | 37 | 33 | 37 | 42 | 112 | R40 | 27 | 20 |
| TDD-24 | 77 | 32 | M24×2 | 50 | 48.5 | 58.5 | 55 | 162 | R70 | 42 | 30 |
| TDD-28* | 77 | 32 | M28×1.5 | 50 | 48.5 | 58.5 | 57 | 164 | R70 | 42 | 30 |
| TDD-36* | 107 | 44 | M36×2 | 85 | 66.5 | 76.5 | 95 | 238 | R70 | 58 | 40 |
| TDD-40* | 107 | 44 | M40×1.5 | 70 | 66.5 | 76.5 | 80 | 223 | R70 | 58 | 40 |
| TDD-48* | 130 | 60 | M48×3 | 90 | 82.5 | 92.5 | 100 | 275 | R140 | 70 | 60 |
| TDD-54* | 130 | 60 | M54×2 | 90 | 82.5 | 92.5 | 100 | 275 | R140 | 70 | 60 |
※*記号の製品は受注生産です。