特長・用途
- 静的・動的・衝撃加速度測定が可能
- 小型・高出力タイプ
- 精度クラス:1 %R.O.
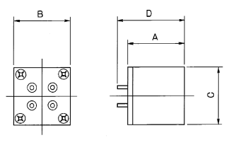
型式・外観寸法

形式名と定格・寸法(単位:mm)・周波数特性・質量
| 形式名 | 定格 | A | B | C | D | 固有振動数 | 応答周波数 | 質 量 |
|---|---|---|---|---|---|---|---|---|
| SAL-20MS | ±20 m/s2(2.039 G) | 19 | 16 | 16 | 22 | 50 Hz | DC~36 Hz | 20 g |
| SAL-50MS | ±50 m/s2(5.099 G) | 16 | 16 | 16 | 19 | 105 Hz | DC~80 kHz | 17 g |
| SAL-100MS | ±100 m/s2(10.20 G) | 16 | 16 | 16 | 19 | 155 Hz | DC~135 Hz | 17 g |
| SAL-200MS | ±200 m/s2(20.39 G) | 16 | 16 | 16 | 19 | 215 Hz | DC~180 Hz | 17 g |
※質量はケーブルを含みません。
※応答周波数範囲:25 ℃の一定温度下において、一定な振動加速度を与えながら周波数を可変した際の加速度計の出力が±5 %以内に入る周波数帯域。
仕様・規格
| 許容過負荷 | 130 %R.C. |
|---|---|
| 定格出力 | 1.1 mV/V±30 % |
| 直線性 | 1 %R.O. |
| ヒステリシス | 1 %R.O. |
| 横感度 | ±3 %R.O. |
| ダンピング比 | 約0.7(at 25 ℃) |
| 推奨印加電圧 | 3 V 以内 |
| 許容印加電圧 | 4 V |
| 入力抵抗 | 120 Ω |
| 出力抵抗 | 120 Ω |
| 許容温度範囲 | -10~60 ℃ |
| 零点の温度影響 | 0.1 %R.O./℃ |
| ケーブル | 4芯平行ビニール線0.6 m※1 |